欢迎访问纬乐化学(上海)有限公司官网!
 首页 > 行业动态

2023-12-26

5、流化床反应器

流体自下而上通过固体颗粒床层,到流体速度增加到一定程度时,颗粒被流体托起作悬浮运动,这种现象叫固体流态化。利用流态化技术进行化学反应的装置叫流化床反应器。

流化床反应器在工业中的应用可分为催化过程和非催化过程两大类。催化裂化是利用流化床反应器的规模最大的工业生产过程,矿物加工为非催化反应过程,如硫铁矿焙烧、石灰石焙烧等。图5所示为制取环氧乙烷的流化床反应器和工业石灰石煅烧炉。

图5 制取环氧乙烷的流化床反应器和工业石灰石煅烧炉



6、移动床反应器

移动床反应器也是一种有固体颗粒参与的反应器,与固定床反应器的不同之处是固体颗粒边反应边整体移动位置。如固体颗粒为催化剂,则用提升装置将其输送至反应器顶部后返回反应器内。

反应流体与颗粒成逆流,此种反应器适用于催化剂需要连续进行再生的催化反应过程和固相加工反应。如图6所示为移动床反应器。


图6 移动床反应器



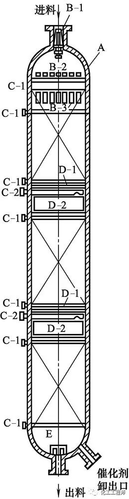
7、滴流床反应器

从某种意义上说,这种反应器也属于固定床反应器,当两股流体并流向下通过固定在反应器内的固体催化剂层时,称为滴流床(又叫涓流床)反应器,用于使用固体催化剂的气液相反应。如图7所示为重油加氢滴流床反应器。

图7 重油加氢滴流床反应器


以上内容转载于公众号-化工工程师